Omadused
- 0,5+
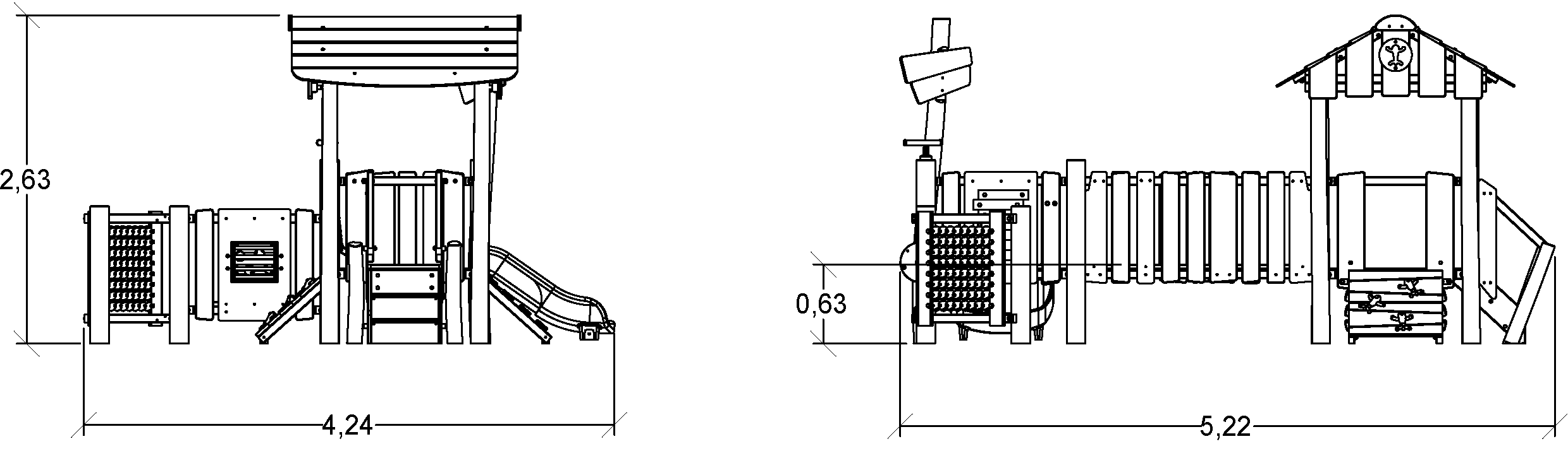
- 5,22x4,24xh2,63m
- 8,22x7,29m
- 22
- 1,0m
Kirjeldus
Naturaalses stiilis mängulinnak sobivad ka neile mänguväljakutele, kuhu värvilisemaid atraktsioone paigaldada ei soovita.
Lisa päringukorviNaturaalses stiilis mängulinnak sobivad ka neile mänguväljakutele, kuhu värvilisemaid atraktsioone paigaldada ei soovita.
Lisa päringukorvi